曲管压力平衡补偿器
河南景元供水设备有限公司专业生产可曲挠橡胶接头,橡胶柔性止回阀,不锈钢波纹管,橡胶风道接头,衬胶管道,工艺精湛、质量可靠、售后专业。可曲挠橡胶接头价格表精准 ,不锈钢波纹管价格优惠,欢迎来电洽谈,到厂考察!...
曲管压力平衡补偿器
product details
产品描述
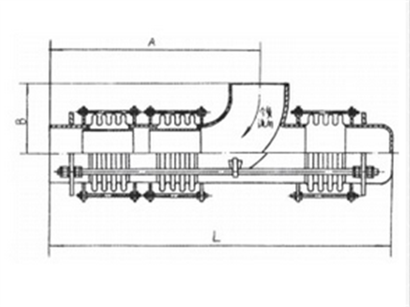
BQYP曲管压力平衡补偿器,曲管压力平衡式波纹膨胀节主要用于吸收轴向与横向组合位移并能平衡波纹管的压力推力。该膨胀节为波纹管式结构,内由压力平衡波纹管和补偿波纹管组成,通过压力平衡波纹管平衡波纹补偿器压力,解除补偿器以及管道的自身推力。曲管压力平衡补偿器产品特点该膨胀节的两端各有一个工作波纹管,中间有一个平衡波纹管,膨胀节通过受力构件(大拉杆或舌管)来承受内压推力,因此管系只需中间固定支架。此类膨胀节只能吸收轴向位移。曲管压力平衡补偿器用途其从根本上解决了盲板力对固定支架的推力问题,从而简化了固定支架的设计和施工,降低了工程造价。压力平衡型膨胀节能补偿管道系统中的轴向位移,内压推力自身平衡,本产品应用于不宜设置固定支架的高物位置管线中。安装使用注意事项1、此类膨胀节一般应用在架空的直管线上,水平安装。2、膨胀节安装完后,所有的小拉杆须拆除。3、为减少膨胀节对支座的弹性反力,在安装前可对此类膨胀节进行预拉或预压(可通过调整其上的小拉杆实现)。曲管压力平衡式波纹膨胀节由一个工作波纹管或中间管所连接的两个工作波纹管和一个平衡波纹管及弯头或三通、封头拉杆、端板和球面与锥面垫圈等结构件组成。主要用于吸收轴向与横向组合位移并能平衡波纹管压力推力的膨胀节。曲管压力平衡式波纹膨胀节性能特点:主要用于吸收轴向与横向组合位移并能平衡波纹管的压力推力,用于不允许有较大推力的场合。曲管压力平衡式波纹膨胀节应用范围:多安装在管道方向转向处(如L型、Z型管道等)或与设备相连的空间管道上,以及泵、压缩机、汽轮机等对载荷敏感的管道系统,且能吸振降燥,消除管道热应力,保证设备安全运行。BQYP型曲管压力平衡补偿器主要数据公称通径DNmm总波数nn1/2n2n1大管波数n2小管波数压力等级Mpa径向外型最大尺寸mm压力对应的产品长度Lmm0.250.6接管J型法兰F型轴向补偿量mm轴向刚度N/mm0.25Mpa0.6Mpa0.25Mpa0.6Mpa0.25Mpa0.6Mpa600124/885/105053/4410117312202000225020242274186/12123/70080/29402300260023242624248/16165/525106/22002700295027242974700124/882/134754/4945133113652000225020242274186/12123/89880/32972300260023242624248/16163/674108/24732700295027242974800124/898/100345/7228147415202000225020242274186/12146/66868/48192300260023242624248/16195/50190/36142700295027242974900124/8106/107555/4628163416702000225020242274186/12159/71683/30852300260023242624248/16212/537110/231427002950272429741000124/8108/113654/5042180818402000225020242274186/12162/75882/33622300260023242624248/16215/568108/25212700295027242974
联系我们
| 联系人: | 庞先生 |
|---|---|
| 电话: | +8615824825999 |
| Email: | pjw@hnjygs.cn |
| QQ: | 741110674 |
| 微信: | 13783661974 |
| 地址: | 中国河南省郑州市巩义市西村镇西村村2组 |
推荐产品
Update Required
To play the media you will need to either update your browser to a recent version or update your Flash plugin.